WL-40900型多级降压式套筒控制阀概述:
WL-40900型多级降压式套筒控制阀采用套筒导向平衡式阀内件,多级降压阀内件组合,可选用普通双座式或平衡密封环单座,按不同工况要求可采用多种组合形式,最大可达到八级降压作用,特别针对高压差各种不同工况实现多种方案组合,有效达到降低噪音和防空化破坏及多级降压的目的,抗气蚀能力强。
主要技术参数
公称通径 Nominal dimeter | mm | 20 | 25 | 32 | 40 | 50 | 65 | 80 | 100 | 125 | 150 | 200 | 250 | 300 |
inch | 3/4〞 | 1〞 | 1.25〞 | 1.5〞 | 2〞 | 2.5〞 | 3〞 | 4〞 | 5〞 | 6〞 | 8〞 | 10〞 | 12〞 | |
行程(mm) | 16 | 25 | 40 | 60 | 100 | |||||||||
压力等级 | ANSI class 150 300 600; JIS 10k 20k 30k 40k; PN 1.6 4.0 6.4 10.0Mpa | |||||||||||||
阀芯形状 | 平衡式多孔多级降压阀笼 | |||||||||||||
流量特性 | 等百分比, 直线 | |||||||||||||
可调比 | 50: 1 | |||||||||||||
连接型式 | 法兰式 | 法兰型 | ||||||||||||
焊接式 | 焊接型(DN50以下为SW承插焊 DN65以上为BW对焊) | |||||||||||||
外形尺寸 | 请参见外形尺寸 | |||||||||||||
上阀盖形式 | 标准型:-5℃~230℃ | |||||||||||||
散热型:-45℃~5℃或是大于230℃ | ||||||||||||||
加长型:-196℃~-45℃ | ||||||||||||||
波纹管密封型 ,蒸汽夹套型 | ||||||||||||||
阀体,阀内组件材料的配套及工作温度范围,请参见组件材料的配套及工作温度范围 | ||||||||||||||
填料 | 聚四氟乙烯V型填料、聚四氟乙烯碳纤维、聚四氟乙烯石棉及柔性石墨 | |||||||||||||
垫圈 | 锯齿形垫圈(极软碳钢、SUS316,其它合金钢) | |||||||||||||
泄漏率 | 金属阀座符合标准ANSI B16.104 IV级 | |||||||||||||
PTFE阀座 符合标准ANSI B16.104 VI级 | ||||||||||||||
最大允许压差 | 请参见最大允许压差 | |||||||||||||
执行机构 | 气动请参见气动执行机构 | |||||||||||||
主要零部件
序号 No | 零件 Part | 材质 Material | ||
1 | 阀体 | WCB | CF8M | CF8 |
2 | 阀盖 | WCB | CF8M | CF8 |
3 | 上阀笼 | 304 | 316 | 304 |
4 | 下阀笼 | 304 | 316 | 304 |
5 | 阀芯 | 304 | 316 | 304 |
6 | 阀杆 | 304 | 316 | 304 |
7 | 填料压套 | 304 | 316 | 304 |
8 | 填料 | PTFE或柔性石墨 | ||
9 | O型密封圈 | NBR或FKM | ||
10 | 防尘密封圈 | NBR或FKM | ||
11 | 填料座 | 304 | 316 | 304 |
12 | 垫圈 | 304或316+柔性石墨 | ||
13 | 压盖螺栓 | 35# | 316 | 304 |
14 | 压盖螺母 | 35# | 316 | 304 |
15 | 阀杆螺母 | 304 | 304 | 304 |
流量系数CV值
公称通径 | mm | 25 | 32 | 40 | 50 | 65 | 80 | 100 | 125 | 150 | 200 | 250 | 300 |
inch | 1〞 | 1.25〞 | 1.5〞 | 2〞 | 2.5〞 | 3〞 | 4〞 | 5〞 | 6〞 | 8〞 | 10〞 | 12〞 | |
阀芯尺寸(mm) | 25 | 32 | 40 | 50 | 65 | 80 | 100 | 125 | 150 | 200 | 250 | 300 | |
额定CV值 | 等百分比 | 10 | 17 | 24 | 44 | 68 | 99 | 175 | 275 | 360 | 640 | 1000 | 1450 |
直线性 | 10 | 17 | 24 | 44 | 68 | 99 | 175 | 275 | 360 | 640 | 1000 | 1450 | |
多孔式 | 5.8 | 9.6 | 16 | 40.2 | 51 | 70 | 138 | 177 | 256 | 464 | 761 | 1090 | |
二级 | 4.7 | 7.1 | 10.8 | 18.3 | 29.2 | 49 | 85 | 104 | 143 | 224 | 410 | 492 | |
四级 | 3.8 | 5.8 | 8.3 | 15.2 | 24.3 | 40.5 | 68 | 83 | 114 | 180 | 326 | 367 | |
六级 | 3.2 | 4.8 | 6.7 | 12.2 | 19.6 | 33 | 58 | 70 | 94 | 142 | 273 | 290 | |
八级 | 2.4 | 3.4 | 4.6 | 9.2 | 14.5 | 23.9 | 43 | 54 | 75 | 109 | 214 | 238 | |
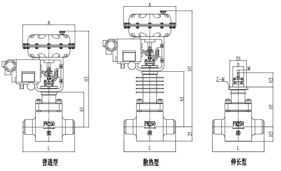
直通配气动薄膜执行机构外形尺寸
阀门尺寸 | L | H2 | A | 标准型 | 散热型 | 伸长型 | 执行机构连接尺寸 | |||||||||
PN1.6 | PN4.0 | PN6.4 | h1 | H1 | h1 | H1 | H1 | B | H3 | M | D | d1 | Z-M | |||
3/4" | 184 | 194 | 206 | 52 | 285 | 132 | 482 | 282 | 632 | 1226 | 290 | 105 | M12*1.25 | 60 | 80 | 4-M8 |
1" | 184 | 197 | 210 | 52 | 285 | 132 | 482 | 282 | 632 | 12 26 | 290 | 105 | M12*1.25 | 60 | 80 | 4-M8 |
1.5" | 222 | 235 | 251 | 68 | 285 | 170 | 529 | 349 | 699 | 1246 | 370 | 105 | M12*1.25 | 60 | 80 | 4-M8 |
360 | 615 | 785 | 1330 | 370 | 105 | M16*1.5 | 80 | 105 | 4-M10 | |||||||
| 2" | 254 | 267 | 286 | 83 | 285 | 179 | 529 | 349 | 699 | 1246 | 370 | 105 | M12*1.25 | 80 | 80 | 4-M8 |
| 360 | 615 | 785 | 1330 | 370 | 105 | M16*1.5 | 80 | 105 | 4-M10 | |||||||
2.5" | 276 | 292 | 311 | 93 | 360 | 214 | 650 | 414 | 850 | 1367 | 410 | 135 | M16*1.5 | 80 | 105 | 4-M10 |
470 | 802 | 1002 | 1519 | 410 | 160 | M20*1.5 | 95 | 118 | 4-M12 | |||||||
3" | 298 | 317 | 337 | 98 | 360 | 221 | 657 | 421 | 857 | 1367 | 440 | 135 | M16*1.5 | 80 | 105 | 4-M10 |
470 | 809 | 1009 | 1519 | 440 | 160 | M20*1.5 | 95 | 118 | 4-M12 | |||||||
4" | 352 | 368 | 394 | 117 | 360 | 234 | 670 | 434 | 870 | 1367 | 490 | 135 | M16*1.5 | 80 | 105 | 4-M10 |
470 | 822 | 1002 | 1519 | 490 | 160 | M20*1.5 | 95 | 118 | 4-M12 | |||||||
5" | 403 | 425 | 460 | 133 | 470 | 270 | 858 | 527 | 1115 | 1536 | 560 | 160 | M20*1.5 | 95 | 118 | 4-M12 |
6" | 451 | 473 | 508 | 150 | 470 | 294 | 882 | 554 | 1142 | 1536 | 630 | 160 | M20*1.5 | 95 | 118 | 4-M12 |
8" | 543 | 568 | 610 | 186 | 470 | 331 | 919 | 591 | 1179 | 1536 | 760 | 160 | M20*1.5 | 95 | 118 | 4-M12 |
10" | 673 | 700 | 770 | 245 | 580 | 387 | 1054 | 637 | 1305 | - | - | 178 | M20*1.5 | 100 | 130 | 4-M16 |
12" | 737 | 775 | 819 | 248 | 580 | 465 | 1132 | 715 | 1382 | - | - | 178 | M20*1.5 | 100 | 130 | 4-M16 |
直通配气动薄膜执行机构外形示意图

阀门维护保养:
注意:每六个月,至少进行一次技术保养维修。可以在阀门不卸下管路时进行,有时还可以在线运行。如果怀疑问题在内部,可参考“阀门的拆卸和重新组装”一节。
1、察看端法兰和阀体的垫片泄漏迹象。拧紧法兰和阀体的螺栓连接件(如果需要的话)
2、检查压力平衡套筒、金属膜盒和阀体排污塞向大气的液体泄漏。
3、检查腐蚀性烟雾或工艺滴漏造成的阀门损坏。
4、清洁阀门并对严重氧化部位重新涂漆。
5、检查密封填料箱螺栓连接件的拧紧程度。填料螺母应紧到略高于手指拧紧的程度,但只要不漏即可。
6、如果阀门装有润滑器,则检查润滑剂的供给,需要时加润滑剂。
7、可能时,开、关阀门,检查稳定全行程运行若阀杆运动不稳定,可能表明阀门内部有问题。注意:使用石墨密封填料时,阀杆运动不稳定属于正常现象。
8、如果连接螺母松动,应检查连接螺纹的啮合(参考“重新组装执行机构”一节,找到对准阀塞和阀座的正确程序)。
9、确保所有辅件、支架和螺栓连接件连接牢固。
10、可能时,关掉气源,观察执行机构的正确故障安全动作。
11、检查橡胶膜片的磨损。
12、在执行机构膜片外圈、调节螺钉密封处附近喷涂肥皂液,检查通过O型圈或膜片的漏气。
13、清除阀杆上的污垢和杂物。
14、如果装有空气过滤器,则检查滤芯,需要时进行更换。
阀门的拆卸和重新组装
1 拆卸阀体
警告:在开始阀门拆卸工作之前,必须把管路泄压,排出全部工艺流体。否则,会造成严重人身伤害。
1、如果是气开阀,则在拆开阀门之前,在气室下方通入空气,使阀塞提起,离开阀座。如果是气关阀,则进行步骤2。
2、卸下阀体法兰的螺栓连接件,把执行机构、阀盖和阀塞吊出阀门。
注意:重型执行机构可能需要起重机。应借助支架使用吊带和起重机起吊阀门。应特别小心地把执行机构和阀塞垂直吊出阀体,防止损坏阀塞和阀座。
3、把阀座、垫片等拿出阀体。
4、检查阀座和阀芯的密封面,应无损坏,确保关闭严密。必须确保阀座、阀盖和阀体等处的垫片表面清洁,无损坏。
5、为了检查阀芯,应卸出阀芯。方法是松开连接螺母和填料压盖。
注意:对于气开、故障关型阀门,可能需要向执行机构顶部供少量气体,使阀芯离开阀座。否则,可能磨损阀芯。转动执行机构使它离开阀座和阀体,使阀芯不在阀体内旋转。小心地把阀芯拉出密封填料。为了防止刮到阀杆导套和阀杆,应严格执行以上程序。
6、如阀座表面需要重新机加工,则阀芯和阀座二者的表面都必须重新加工。阀芯和阀座的角为60度密封。如果遵守正确的组装程序,则不需研磨。注意:如果重新机加工,在旋转时必须保护好阀塞杆。确保阀座表面与阀杆之间的同心度。
7、为了更换密封填料,或改变填料结构,可使用与阀杆大致相同尺寸的螺栓从阀盖下方推出密封填料、防伸出挡环和阀杆上、下导套。
2 重新组装阀体
1、如果已拆下密封填料,则重新组装新密封填料。填料顶部必须留下至少1/8英寸,用于安装上导套。选用不同的长度的填料隔环,可以使用不同的填料结构,如双密封和真空压力填料。警告:装有伸长阀盖或金属膜盒密封的阀门不得安装下密封填料;只能安装下填料环的上端件。装有伸长阀帽或金属膜盒密封的阀门。如果安装下密封填料,会破坏填料组件的一体化。每次更换阀门密封填料,必须更换上、下石墨导套内衬。重新安装阀门时,上、下导套内不可无石墨内衬。
2、把阀杆重新插入填料箱,小心不要刮、划阀塞杆或上、下导套。
3、在不转动阀盖内阀芯的前提下,把执行机构转回阀芯上。在把阀杆和执行机构推杆的螺纹拧上几扣之前,必须使执行器压盖法兰和阀盖法兰到位。
注意:不要让填料压盖接触和磨损抛光的阀塞杆留下约三、四扣阀塞杆螺纹不拧入,夹上定位架夹并穿上填料压盖法兰的螺栓。密封填料箱的压紧螺母应拧紧到刚过手指拧紧的程度。
4、安装新阀帽垫片和新阀座垫片。对于聚四氟乙烯垫片,有斜面的边应向上。
5、把垫片装入阀体内,在把阀座装入阀体内,有专用扳手拧紧
6、对于气开阀,向执行机构的膜室下方通气,拉回阀芯。
7、把阀芯和阀盖垂直吊入阀体,小心在阀芯进入阀体时,不要刮伤或磨损阀芯。
8、为了正确对中阀座环和阀塞,首先把阀帽螺栓拧紧到手指拧紧的程度。注意:如果不使阀塞回到行程中间位置阀帽拧紧过程中,会损坏执行机构和或阀门。这是由于大部分执行机构都不能承受拧紧顺序。
9、对于气关阀门,跳过这一步。对于气开阀门,按下述方法检查阀塞入座阀座:当阀塞正确装入阀座时,阀帽法兰向上顶紧只有手指拧紧度的阀体螺栓连接件,顶紧力使得法兰不能移动。如果没有正确入座,阀盖法兰可以用手指摇动。如果是这样,则向执行机构膜室下方通气,把执行机构拉回行程中间附近。把阀塞杆再拧出执行机构活塞杆一扣螺纹并重复以上入座程序。当阀帽法兰紧顶在手指拧紧程度的阀体螺栓连接件上时,阀塞正确顶入阀座。需要时可重复上述程序,直到正确入座。
10、在膜室上方通气,使阀塞入座。对于所有调节阀,调整连接螺母,使得在满行程控制信号给定位器时,定位器凸轮上的标记线指向凸轮圆柱滚子轴承的中心。
11、拧紧连接螺母的螺栓连接件。正确拧紧此处螺栓是很重要的,因为这可以正确调节执行机构活塞杆和阀杆的连接。调节行程板,使连接螺母指向“关闭”位置。
12、如果阀门已从管路上卸下,重新组装时,要确保流动箭头所指为正确的流动方向。注意:对于通/断阀,连接螺母的底面应与执行机构推杆的底端对齐。
3 拆卸执行机构
1、对于气开阀,执行机构可以在阀门上拆卸。对于气关阀,拆卸执行机构之前,必须先从阀门上拆下执行机构。为了拆卸执行机构。
2、在气室内适当侧接一空气软管,在另一侧释放压力,这样使阀芯即不入阀座,又不回顶到阀帽上。注意:如果不把阀塞置于阀座环和阀帽之间,则可能磨损重要表面。
3、松开连接螺母。
4、卸下阀盖的螺栓连接件和定位架。
5、转动执行机构,使它完全脱离阀杆和阀盖。在这一过程中不得转动阀盖内的阀芯。注意:在把执行机构转出阀杆螺纹之后,不得使阀芯掉落,撞到阀座上。
6、断开接管。
7、卸下螺钉,解除弹簧的压力。警告:在继续拆卸之前,必须解除弹簧的压力。否则,在拆卸过程中可能造成严重人身伤害。注意:适用于从阀门上卸下执行机构。
4.重新组装执行机构
装配执行机构时,将磨损、损伤的零件进行更换。按1~2年检查及维修一项,将所示的润滑脂涂在推杆的润滑部位及手动操作机构的相关部件。
1、应更换全部O型圈。新O型圈应使用硅酮润滑剂(Dow Co r n i g n 5 5M或相当产品)进行润滑。硅酮O型圈必须用Magnlube-G或相当产品润滑。不得在硅酮O型圈上使用硅酮润滑剂。
2、开始重新组装之前,所有内部零件必须彻底清洗并进行润滑。
3、如果已经卸下执行机构推杆,应更换推杆密封O型圈,并托盘和推杆拧紧牢固。
4、对于气到关结构,把弹簧放在托盘下,把执行机构推杆穿过定位架。小心不要磨损推杆。
5 装配后的调整
装配完成后进行确认,若不合格则再次拆卸,检查出原因后再进行装配。
1、对执行机构施加规定的气压,观察动作、是否平稳。
2、对垫圈、填料部份进行气密试验。
3、阀座泄漏量必须在规定值以内。
4、滞后性、直线性必须在规定值以内。
现场故障分析及排除
故障现象 | 故障分析 | 故障排除 |
1,气动阀门动作不稳定,动作频繁。接近全关时行程不规则震荡, 2,供气压力不稳定, 3,输入信号稳定,但行程还是不规则震荡 | 1,CV值选型过大,调节精度不准。压差过大,产生单座阀芯振荡, 2,检查供气源容量、管线容量、节流容量是否合适 3,介质压力大,执行机构输出力偏小 | 1,更换阀芯CV值。阀体反向安装或者更换成套筒结构。, 2,加大供气管线流通能力或适当提升供气压力。 3,加大气动执行机构推力。 |
1,气动阀门在管道上震动, 2,任何开度上有噪音, 3,阀门仅在某段开度行程上有震荡 | 1,管道受介质影响产生震动, 2,阀芯和导向有摩擦, 3,线性不准确或线型选型不正确 | 1,加固管道,减少震动幅度。加固阀门紧固件,防止震动产生松动和脱落。 2,检查清理阀内件,如内件已磨损,要及时更换。 3,检查介质工作条件(更改节流孔或CV值),更改阀门的流量特性 |
1,气动阀门卡死或动作不灵活 | 1,供气管线漏气或执行机构漏气 2,阀芯导向部分滞留污物, 3,填料老化或硬化,引起填料和阀杆阻力加大,阀杆移动滞后 | 1,维修管路和执行机构。 2,检修清理阀内件之间的杂物。 3,更换填料,阀杆有磨损时也可更换阀杆。。 |
1,填料函处有外渗外漏 2,中法兰垫片处渗漏 | 1,检查填料压板是否松动,注油器是否有油脂。检查填料和阀杆是否损坏 2,检查上阀盖螺母是否松动,垫片是否损坏。 | 1,更新填料,紧固填料压板紧固件,对注油部位加注润滑脂。 2,更换密封垫片,加固阀盖紧固件。 |
1,气动阀门已处于关闭位时,泄漏量超标 | 1,执行机构、供气管和定位器漏气, 2,检查阀芯是否处于关闭位置,检查阀芯行程, 3,阀芯阀座密封面可能有磨损情况, | 1,维修漏气部位,更换损坏管件和接头。 2,调整阀杆和气动头松动部位,重新进行调试和定位。 3,对磨损的密封面进行修复。
|